常見用途:電動泥斗主要用于板框壓濾機、帶式污泥脫水機、離心式污泥脫水機、滾壓式污泥脫水機等泥餅的堆積顧儲,以及其他顆粒物和固體的存儲,以便于集中一次性卸載運走。
型號表示:
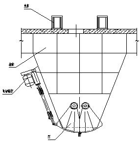
結構原理:
電動泥斗主要部件有儲泥斗、活動門、電動推桿和控制箱四大部分組成。如下圖
原理:電動泥斗的主要部件就是電動推桿,電動推桿的質量直接關系到電動泥斗的質量。其是一種往復運動的電力驅動裝置,通過其上的兩端行程開關來控制其行程的大小,達到活動門開關的目的。
主要特點:
1 根據用戶需要可采用各種防腐,如瀝青防腐,玻璃鋼防腐,襯膠防腐,襯塑防腐等。壽命長。
2 具備手動、自動和遠程控制的需要,最大限度的滿足現場要求。
3 泥斗門的閉合和開啟可根據用戶要求采用電動、氣動和液壓控制。操作簡單,運行平穩可靠無噪音。
技術參數:(參數僅供參考)
