常見用途:
GSHP 型耙式格柵除污機用于城市污水處理廠、自來水廠、雨水泵站等進水渠(井),自動攔截并清除水中的漂浮物,保證下道工序的正常運行。
型號表示:
主要特點:
結構緊湊,緩沖卸渣,過載保護;工作可靠,全自動運行;整機供貨,安裝方便。
工作原理:
GSHP 型耙式格柵除污機主要由驅動裝置、機架、主軸、柵條、托渣板、齒耙及牽引鏈組成。
在電機驅動下,通過減速機減速后,帶動鏈輪與鏈條運動,固定在回轉鏈條上除污齒耙鏈條在柵后運動到底部,經過導輪后翻轉到柵前迎水面的位置,繼續運動插入固定柵條的間隙中上行,把柵前攔截的污物提升帶出水面,并隨著鏈條的運動到出渣口處自動翻轉,污物自卸到格柵后的輸送機或渣桶中,完成除污過程,液體則通過柵條的柵隙流過,整個工作狀態連續循環進行。
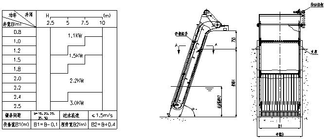
技術參數:
